развертка картинки
Развертка картинки - это процесс преобразования изображения на плоскости в трехмерную модель, позволяющую увидеть все ее стороны и детали. Благодаря развертке можно получить шаблон, который можно использовать для создания объекта из плоского материала, например, для изготовления мебели или одежды. Развертка картинки является неотъемлемой частью проектирования и представляет собой удобный инструмент для работы с трехмерными моделями и их реализации в реальности.
Маска тигра паперкрафт схема
Паперкрафт 3д маска Доберман
Развёртка Куба 4 на 4
Полигональная фигура развёртка Доберман бесплатно
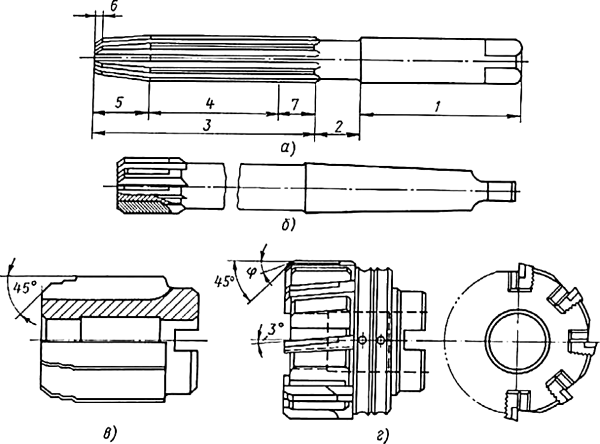
Конструкция и геометрические параметры разверток
Коробка в виде карандаша
Развёртка Куба для склеивания с припусками
Шестиугольная пирамида развертка
Наклонный параллелепипед развертка для склеивания
Бумажные развертки
Макет здания из картона своими руками схемы
Симс 4 пламбоб из бумаги
Машинная развертка схема
Развертка 7мм цилиндрическая Техмаш (12364)
Четырехгранная Призма чертеж
Шестиугольная пирамида из картона
Шестиугольная Призма развертка черчение
Поавельнвя шестиуглльная.прищиа ращвертка
Развертка алмаза для склеивания
Правильная шестиугольная Призма развертка
Пейперкрафт развертки
Череп пейперкрафт
Развертка прямоугольного параллелепипеда а4
Развертка Куба с гранью 6.5 см
Составные части развертки
Шестиугольная Призма чертеж Призма
Правильная шестиугольная Призма развертка
Чертеж развертки поверхностей Призмы
Ромбо Кубо октаэдр развертка
Правильная пятиугольная пирамида развертка
Полигональные Кристаллы развертка
Развертка гексаэдра Куба
Тесла КИБЕРТРАК развертка
Наклонная Призма развертка
Конструктивные элементы развертки
Классификация разверток по металлу
Шестигранная коробка развертка
Развертка Куба и параллелепипеда
Зенковка Цековка развертывание
Развертка прямоугольного параллелепипеда
Развёртка по металлу чертеж
Корги пепакура
Развертка "4h9"
Развертка четырехугольной пирамиды
Развёртка Куба 4 на 4
Осевой инструмент развертки
Развертка правильного додекаэдра а4
Комментировать
Комментарии (0)
Смотрите онлайн или можете скачать на телефон или компьютер в хорошем качестве совешенно бесплатно. Не забывайте оставить комментарий и посмотреть другие фотографии и изображения высокого качества, например картинки каменное святилище и картинки сын из раздела Картинки для срисовки






Grizly.club